Sign In | Join Free | My chinabagsnet.com
China Yantai Rongfan Electronic Technology Co., Ltd logo
Yantai Rongfan Electronic Technology Co., Ltd
Yantai Rongfan Electronic Technology Co., Ltd
Verified Supplier

2 Years

Home > PPTC Resettable Fuse >

Overcurrent Protection Device Pptc Resettable Fuse Rohs Compliant 60V 0.05A - 6A

Yantai Rongfan Electronic Technology Co., Ltd
Trust Seal
Verified Supplier
Credit Check
Supplier Assessment
Contact Now

Overcurrent Protection Device Pptc Resettable Fuse Rohs Compliant 60V 0.05A - 6A

  • 1
  • 2
  • 3

Brand Name : RFan

Model Number : RF60-050

Place of Origin : China

Certification : UL.CE.TUV

MOQ : 1000

Price : 0.2-0.6

Packaging Details : 1000/Bag

Delivery Time : 5-7days

Payment Terms : L/C, D/A, D/P, T/T, Western Union, MoneyGram

Supply Ability : 3KKpcs/month

Rohs Compliant : Yes

Lead-Free : Yes

Voltage Rating : 60V

Package / Case : Radial, Axial, Surface Mount

Mounting Type : Surface Mount

Applications : Overcurrent Protection For Electronic Devices

Hold Current : 0.05A -6A

Current Rating : 0.05A - 40A

Contact Now

Rohs Compliant 60V 0.05A - 6A Current Protection Device Pptc Resettable Fuse

This series of products are used in electronic transformer, transformer, Lamp, fire alarm system, audio, industrial control system.
Overcurrent Protection Device Pptc Resettable Fuse Rohs Compliant 60V 0.05A - 6A
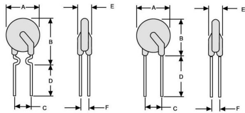
Figure 1(RF60-005-RF60-090) Lead sizeφ0.5mm

Figure 2(RF60-110-RF60-375) Lead sizeφ 0.8mm

Electrical Characteristics Determined at 25 ℃

PART NO

IH

(A)

IT

(A)

V max

(V)

I max

(A)

Pd max (瓦特)

B min

(Ω)

B max

(Ω)

RF30-0900.901.8030400.600.0700.13
RF30-1101.102.2030400.700.0500.10
RF30-1351.352.7030400.800.0400.08
RF30-1601.603.2030400.900.0300.07
RF30-1851.853.7030401.000.0300.06
RF30-2502.505.0030401.200.0200.045
RF30-3003.006.0030402.000.0200.05
RF30-4004.008.0030402.500.0100.03
RF30-5005.0010.0030403.000.0100.03
RF30-6006.0012.0030403.500.0050.02
RF30-7007.0014.0030403.800.0050.02
RF30-8008.0016.0030404.000.0050.02
RF30-9009.0018.0030404.200.0050.01







Product Dimensions(毫米)

PART NOA max

B

max

CDE

F

typ

typminmax
RF30-0907.412.25.17.63.00.9
RF30-1107.414.25.17.63.00.9
RF30-1358.913.55.17.63.00.9
RF30-1608.915.25.17.63.00.9
RF30-18510.215.75.17.63.00.9
RF30-25011.418.35.17.63.00.9
RF30-30011.417.35.17.63.01.2
RF30-40014.020.15.17.63.01.2
RF30-50014.024.910.27.63.01.2
RF30-60016.524.910.27.63.01.2
RF30-70019.126.710.27.63.01.2
RF30-80021.629.210.27.63.01.2
RF30-90024.129.710.27.63.01.2


Overcurrent Protection Device Pptc Resettable Fuse Rohs Compliant 60V 0.05A - 6A















Product Tags:

Pptc Resettable Fuse 60V

      

Pptc Resettable Fuse 6A

      

Rohs Pptc Resettable Fus

      
Quality Overcurrent Protection Device Pptc Resettable Fuse Rohs Compliant 60V 0.05A - 6A wholesale

Overcurrent Protection Device Pptc Resettable Fuse Rohs Compliant 60V 0.05A - 6A Images

Inquiry Cart 0
Send your message to this supplier
 
*From:
*To: Yantai Rongfan Electronic Technology Co., Ltd
*Subject:
*Message:
Characters Remaining: (0/3000)